Beschläge mit Ideen
zurück zur Übersicht

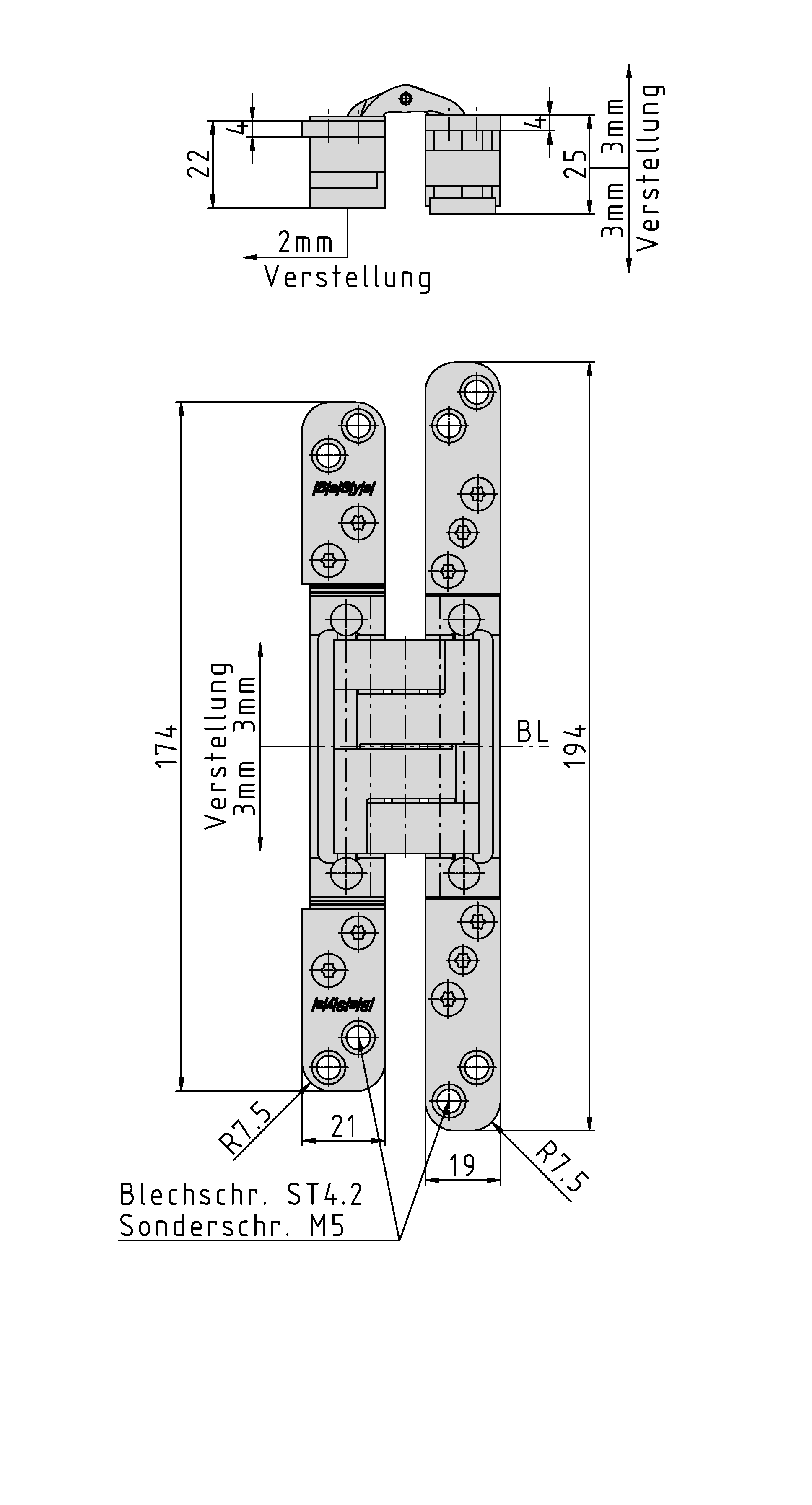
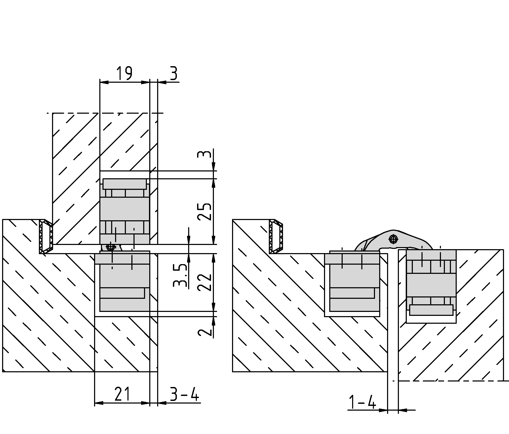
PIVOTA ® DX 42 3-D

Artikelbeschreibung

Normbelastung:

Türgewicht 60 kg (pro Paar)

Anwendung:

stumpf einschlagende Türen, bei ge- schlossener Tür ist das Band unsicht- bar; 3-dimensionale Verstellung, war- tungsfreie Lagerungen

Zubehör:

PIVOTA ® DX Aufnahmen für Futter- zargen; Frässchablone Hinweis: inkl. Befestigungsschrauben; auch als "Design"-Variante erhältlich
Artikelnummer Oberfläche
039314 velour vernickelt

Downloads